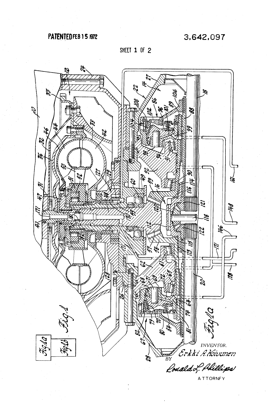
Automatic Transmission Control
Patent Number: US3642097A
Title: Automatic Transmission Control
Date of Patent: February 15, 1972
Inventors: Erkki A. Koivunen (Co-inventor)
Assignee: General Motors Corporation
Abstract: A control system for automatic transmissions to optimize shift timing and improve efficiency.
Link: View on Google Patents





