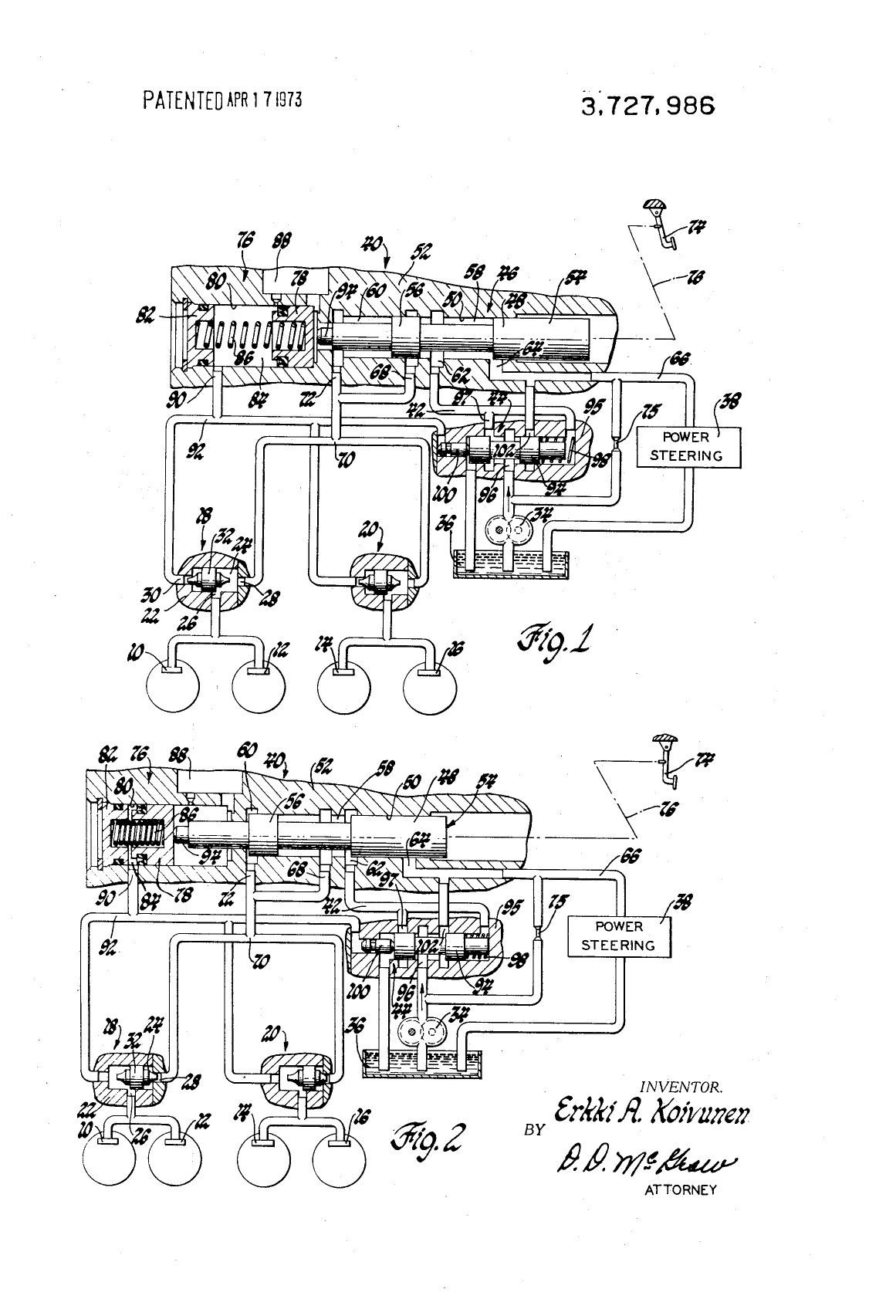
Direct Pull Hydraulic Ratio Caliper Brake
Patent Number: US3727986A
Title: Direct Pull Hydraulic Ratio Caliper Brake
Date of Patent: April 17, 1973
Inventors: Erkki A. Koivunen (Co-inventor)
Assignee: General Motors Corporation
Abstract: A hydraulic brake caliper with direct pull mechanism for improved braking efficiency.
Link: View on Google Patents




