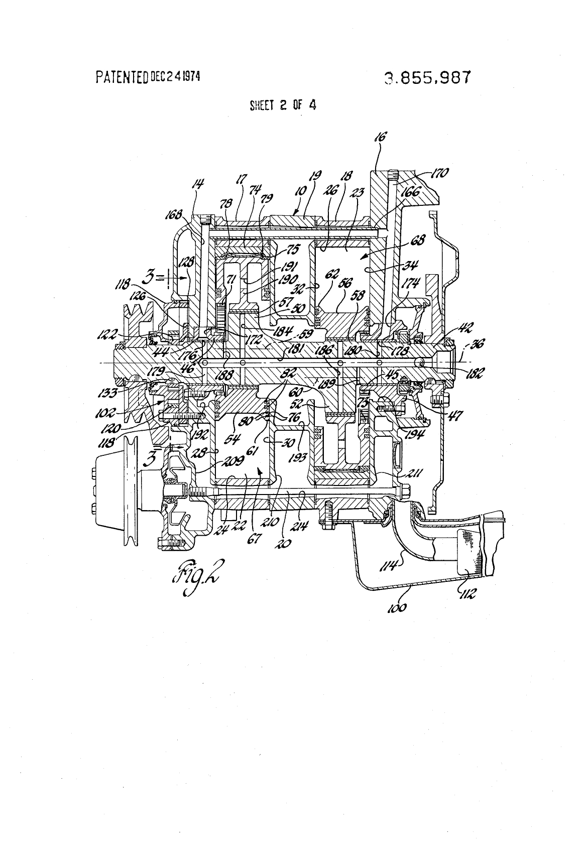
Rotary Engine Oil Supply Device
Patent Number: US3855987A
Title: Rotary Engine Oil Supply Device
Date of Patent: December 24, 1974
Inventors: Erkki A. Koivunen (Co-inventor)
Assignee: General Motors Corporation
Abstract: An oil supply device for rotary engines to ensure proper lubrication.
Link: View on Google Patents










