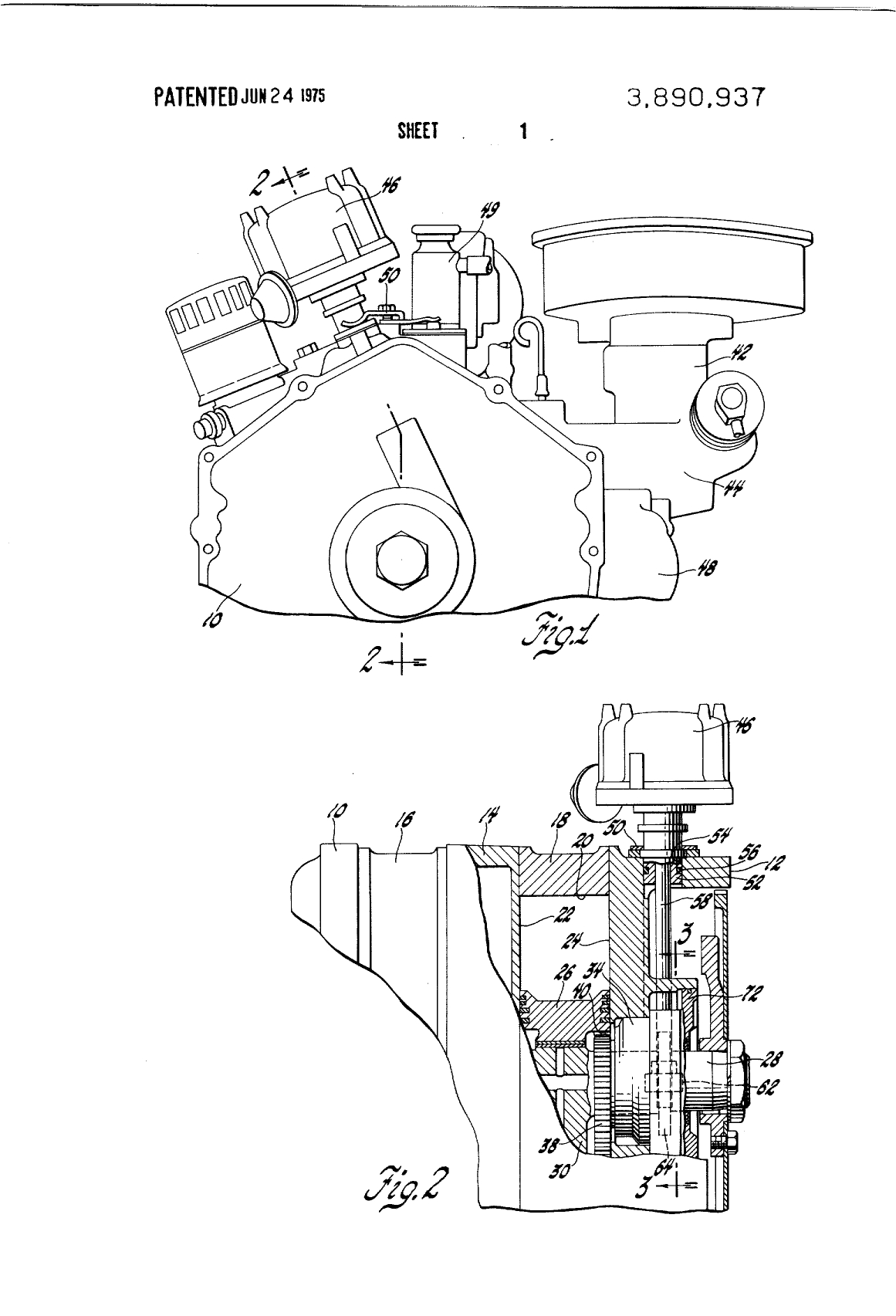
Distributor Drive Mechanism
Patent Number: US3890937A
Title: Distributor Drive Mechanism
Date of Patent: June 24, 1975
Inventors: Erkki A. Koivunen (Co-inventor)
Assignee: General Motors Corporation
Abstract: A drive mechanism for distributors to improve ignition timing in engines.
Link: View on Google Patents





