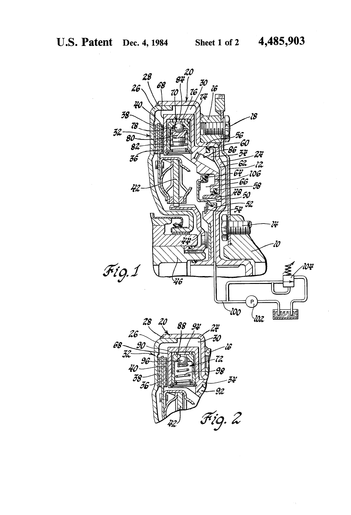
Centrifugal Actuated Friction Clutch with a Relief Valve
Patent Number: US4485903A
Title: Centrifugal Actuated Friction Clutch with a Relief Valve
Date of Patent: December 4, 1984
Inventors: Erkki A. Koivunen (Co-inventor)
Assignee: General Motors Corporation
Abstract: A friction clutch with centrifugal actuation and a relief valve for pressure control.
Link: View on Google Patents





